Клапан дыхательный СМДК-100 АА

доставка Аркат
Клапан дыхательный СМДК-100 АА 0138
Клапан дыхательный СМДК-100 АА 0138
слайдер изображение Клапан дыхательный СМДК-100 АА
слайдер изображение Клапан дыхательный СМДК-100 АА
Артикул:0138

Наличие на складах


  • Общий остаток на складах: уточнить у менеджера
21

Совмещенный механический дыхательный клапан СМДК используется для изменения значения давления паров нефтепродуктов в вертикальном резервуаре в процессах закачки/выкачки нефтепродуктов и при изменении температуры.

По невосприимчивости к действию погодных условий внешней среды совмещенный механический дыхательный клапан СМДК производится в исполнениях У (для умеренных климатических зон) и УХЛ (для холодных климатических зон с минимальной температурой использования до –60°С.), категория размещения 1 по ГОСТ 15150-69.

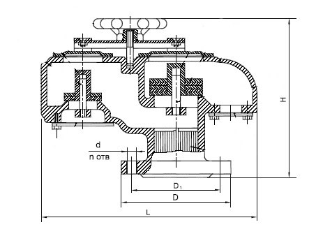
Совмещенный механический дыхательный клапан СМДК состоит из корпуса, в котором заключены тарелки давления  с грузами, тарелки вакуума. В корпус СМДК устанавливается кассета, которая предназначена для временного предотвращения проникновения пламени внутрь резервуара с нефтью и нефтепродуктами при воспламенении выходящих из него взрывоопасных смесей газов и паров с воздухом. С помощью тарелок и в корпусе совмещенного механического дыхательного клапана СМДК образуются камеры давления и вакуума.

Артикул

0138